naar hoofdtekst gaan

Afdrukbare discs

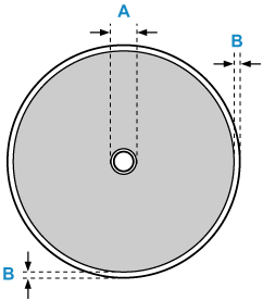
Het afdrukgebied van de afdrukbare disc bevindt zich tussen 17 mm (0,67 inch) vanaf de binnendiameter en 1 mm (0,04 inch) vanaf de buitendiameter van het afdrukoppervlak.

Afdrukgebied

  • A: 17,0 mm (0,67 inch)
  • B: 1,0 mm (0,04 inch)